首页
规格书搜索
datasheet 下载
关于icspec
芯片求购
DRV8912-Q1 - 汽车类 32V、3A 12 通道半桥驱动器
元器件信息
2022-12-02 16:40
590
0
基本信息
描述:汽车类 32V、3A 12 通道半桥驱动器
厂商
器件类别:电机驱动器
产品图片
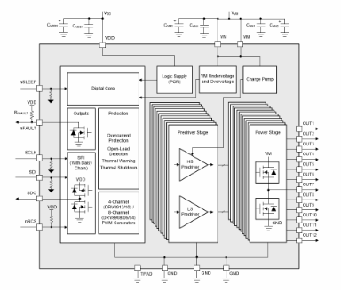
产品结构框图
产品特性
主要参数
封装|引脚|尺寸
HTSSOP (PWP)
资源链接
产品页面
数据表
应用手册
Open Load Detection in Intergrated Drivers
Protecting Automotive Motor Drive Systems from Reverse Polarity Conditions
所选封装材料的热学和电学性质
文章
技术文章
文章标题:Driving HVAC system flaps with an integrated, multichannel motor driver
作者名字:Hector Hernandez Luque
文章标题:Why are you still driving automotive motors with relays?
作者名字:Phil Beard
文章标题:Understanding flap actuators and what drives them in automotive HVAC systems
作者名字:Levan Bidzishvili
文章标题:The story of motor-drive integration
作者名字:Wenjia Liu
支持与培训
可获得 TI E2E™ 论坛的工程师技术支持
设计工具
库/模型
CAD库文件
Ultralibrian库文件
DRV8912-Q1EVM
DRV8912-Q1 multi h-bridges motor driver evaluation module
SnapEDA库文件
DRV8912-Q1EVM
DRV8912-Q1 multi h-bridges motor driver evaluation module
设计与开发
硬件开发
评估板
评估板型号:DRV8912-Q1 多通道 H 桥电机驱动器评估模块
描述:DRV8912-Q1EVM
评估板图片
评估板特性
技术文档
用户指南
支持与培训
立即订购
软件开发
支持软件:DRV8912-Q1EVM Firmware (Rev. A)
SLVC757A.ZIP (316 KB)
设计工具和仿真
GERBER 文件:DRV8912-Q1EVM Design Files (Rev. B)
SLVC758B.ZIP (8721 KB)
设计参考
参考设计
参考设计简述:带 HMI 的汽车 HVAC 控制参考设计
描述:TIDA-020010
特性
原理图
技术文档
支持与培训
成品图片
CAD/CAE 符号
HTSSOP (PWP)
了解详情
购买渠道
样品申请
官网购买
现货分销商网站购买
BOM2BUY
Digikey
点击登录icspec
登录icspec成功后,会自动跳转查看全文
上一篇
TPU是什么?
下一篇
DRV8874 - 具有集成电流检测和电流检测输出的 6A 刷式直流电机驱动器
博客评论
还没有人评论,赶紧抢个沙发~
发表评论
提交
说明:
请文明发言,共建和谐网络,您的个人信息不会被公开显示。
分类
元器件信息
电子技术
芯片热门需求
芯片招聘
最新博客
TPU是什么?
一文了解 NOR Flash
校招 | 南芯秋招「加时赛」开启!(数字设计工程师、嵌入式软件、测试、封装工程师等)
聊聊存储短缺背景下的瑞芯微自救
校招|全志科技2026届秋招补录!(IC模拟设计、IC验证、IC数字后端、AI算法、硬件设计、软件等)