MAX9851 点击型号查看芯片规格书
短促的设计周期,再加上印刷板空间和成本方面的压力,迫使蜂窝电话电路不断向更高集成度发展。基本(低端)电话功能义无反顾地走向了单芯片方案。同时,严重关切品牌个性化的高、中端市场对于高性能、多功能的外设元件提出了越来越高的要求。这样的市场推动力,再加上用户不断升级的功能整合要求,呼唤一种完整的、专为GSM/GPRS蜂窝电话优化的模拟-数字音频方案。这个优化的方案同时还应该包括话音频段的音频功能(麦克风、受话器放大器,ADC和DAC等),以及灵活的多媒体功能(高分辨率ADC和DAC,录音、立体声麦克风,耳机和8欧姆扬声器放大器等)。这样的功能组和实现了蜂窝电话和应用音频功能的无缝整合。
蜂窝电话电路的复杂度和高密度给系统设计者带来了挑战,要想建立一条高品质、满足供应商规范的音频记录/回放通道将是一项困难重重的任务。新型号中增加的多媒体功能,例如照相机、铃音发生器、MP3播放器和语音备忘录等,通常要求更大程度的产品变化。这不仅仅只是增加一些新的元件,印制板布局也要做大的修改,这会造成不良接地以及由此而引起新的噪声问题。
蜂窝电话中模拟音频通道上的噪声和干扰通常归因于射频到音频频段的解调或共用/不良接地。
接收到来自于电话天线的高能量射频信号时,电话中带宽相对较低的音频电路会错误地解调射频发射信号。这会恶化音频通道的噪声背景。可以在音频放大器电路中采取一定技术和结构将这种恶化效应减至最小,紧邻输入引脚放置抑制元件就是一种廉价的补救措施。经常使用低值接地电容,因为设计者通常是按照射频载波频率选择最低的电容器阻抗。
将所有通常会用到的模拟音频输入/输出功能整合到单个IC中是一种非常有效的方案,它可将共用/不良接地带来的影响减至最小。这实际上就是将问题最多、最麻烦的接地问题由印制板布局工程师转移给了IC制造商。除了包含必要的模拟音频输入/输出功能外,这种IC内同时还必须提供足够支持语音频段和任何多媒体功能(例如应用处理器)的数字音频接口。该IC还应提供对于不同单元的分区关断控制,以最大化电池寿命。
下面着重讨论在单芯片方案中出现的一些模拟/数字音频问题。我们以MAX9851—这种简化GSM/GPRS蜂窝电话设计的技术方案为样板展开讨论。
高增益音频电路,例如麦克风放大器(麦克放大器),受不良接地的影响最大。单端电路结构尤其如此,在这种电路中,麦克放大器参考地和信号源参考地(本例中为麦克的GND引脚)之间很小的电压差都会被放大进入信号通道。在类似于蜂窝电话这样的复杂产品中,音频部分的地平面往往是和其他电路共用的,由于铜接地面不是“零欧姆” (我们常常如此认为),这会带来性能恶化问题。因此,如有任何电流流过这个有限的电阻,都会在地平面上产生一个小的电位差。
接地问题可以利用一个全差分输入的麦克放大器解决。这种方法已被 MAX9851 采用,实际就是利用差分输入对麦克的GND引脚进行远端感应。采用远端感应后,CODEC参照端和麦克GND之间的交流电压差对于麦克放大器呈现为共模信号。这个电压差被放大器的共模抑制比(CMRR)衰减,因而显著降低了它对于信号通道的等效噪声贡献。这种设计的唯一代价是需要在麦克和CODEC之间多布一条印制板线条,以及增加一个耦合电容。
MAX9851也可切换到一个外部的立体声麦克输入来取代内部麦克。这种输入通常来自于汽车免提或其他外部耳机。这种情况下,EXTMICGND引脚“Kelvin感应 ” L和R两个通道,利用放大器的输入CMRR可以消除地噪声,原理同上所述。EXTMICGND的印制板布线应该一直延伸到汽车免提插座或耳机插孔的GND端,以获得最佳效果(图1)。

图1. 利用差分放大器可以远端感应插座的参照“地”。内部地和插座地之间的任何交流电压被大幅度抑制,不被麦克放大器增益放大。
麦克偏置电路也会给信号通道引入显著的噪声。大部分偏置电压噪声会直接呈现在麦克放大器的输入端。更加合理的麦克放大器设计,正如MAX9851中所集成的那样,应该提供一个经过调整的、输出噪声水平和麦克放大器输入噪声水平相匹配的低噪声偏置电压。
要想以接近于CD的音质播放压缩的音乐文件就需要高质量的耳机音频回放电路。信噪比(SNR)、线性和带宽都要比基本的300Hz至4kHz语音通道大幅度提高。低频扩展可能会有问题,因为耳机驱动器通常都要串联电容来阻止耳机放大器的直流偏压被进入耳机。常见的立体声耳机典型阻抗可低至16欧姆,它和串联电容构成高通滤波器,对于低频成分有衰减作用。要想扩展低频响应,例如向下到100Hz,对于16欧姆立体声耳机就需采用两个100µF隔直电容。
利用Maxim的DirectDrive技术可以去掉这两个串联电容,因为放大器的输出参照于0V。这种情况下的低频分量则受限于去直流滤波器(数字源,正如MAX9851中所设计的),或者受限于线路或麦克等模拟源输入上的输入耦合电容。DirectDrive设计的另一个优点是,当其离开或进入关断模式时,从根本上消除了产生咔嗒/噼噗声的原因。因为没有串联电容,也就无需对电容充电或放电,开/关过程中没有净电流流过耳机。
MAX9851的立体声耳机输出也可工作在桥式单声道方式(图2),以便兼容不同的耳机和配件。同一个插座既可用于立体声耳机,或者也可用于单声道头机(麦克加开关和扬声器)。这种模式下输出仍然参照于地,耳机电缆上没有直流电压。因此,出现短路故障的机会要小的多。

图2. DirectDrive耳机输出可工作于桥式单声道方式或立体声方式。Maxim专有的参照于地的输出意味着不再需要串联耦合电容,节省成本和PCB空间。
受话器输出也使用Direct Drive设计中的电荷泵来供电,这样输出仍然是单端的,允许扬声器负端连接到GND (0V)。输出仍然具有和更为典型的BTL (差分)输出几乎相同的电压摆幅,因为反相电荷泵提供了一个绝对值几乎等于外加AV(DD)的负电源轨。最终输出到受话器扬声器两端的峰到峰输出几乎可以达到2 x AV(DD)。
MAX9851整合了Maxim的第三代D类技术来驱动8欧姆 (或4欧姆)扬声器。D类(开关型)放大器相对于AB类(线性)放大器的优势主要在效率。AB类放大器会在输出元件中耗散大量功率,除非放大器被驱动到削波状态。然而,由于D类放大器的输出元件工作在开关状态,其热耗要小的多,因此可以延长电池寿命。如果蜂窝电话被频繁用在扬声器模式,或支持按下即通话(push-to-talk:PTT)工作方式,延长的电池寿命会非常显著。
然而,在使用D类结构时需要特别谨慎,尤其是当用在核心功能为射频收/发的产品中时,例如蜂窝电话。高效率D类放大器工作中产生的快速切换沿会带来射频辐射问题,特别是当PCB布线和扬声器引线较长时问题会更严重。为应对射频辐射问题,MAX9851中的立体声D类扬声器放大器采用了公司专有的EMI抑制技术(主动限制辐射),以轻微的效率降低为代价,大幅度抑制了扬声器引线/布线上的射频辐射的。精湛的IC构造技术使D类开关输出级对于CODEC中其他敏感的低噪声模拟电路的干扰减至最低。
该立体声放大器可直接工作于未经过电压调整的单节锂离子电池,当工作于4.2V电源时可向8欧姆扬声器输出1W功率(图3)。如果使用更低阻抗的扬声器,还可以输出更高功率,不过在蜂窝电话常用的小口径扬声器中很难找到4欧姆的。

图3. MAX9851中的立体声D类扬声器放大器可直接工作于电池电压,4.2V电源下可提供1W连续输出(于10% THD+N,1kHz信号)。
为实现通话—这个GSM/GPRS蜂窝电话的基础功能,要求系统提供一条8kHz (或16kHz)采样率的ADC/DAC通道,两个方向都具有16位深度。在MAX9851中,该输入/输出通道完全同步于13MHz (或26MHz,对应于f(S) = 16kHz)的MCLK输入,以确保没有丢失或重复的采样。S1数字输入/输出接口能够工作于GSM语音模式(图4),可为这项基础功能提供接口。S1数字接口可工作于主或从模式。

查看大图
图4. GSM语音模式下的S1输出支持基本的GSM语音转换功能。它可工作在主或从模式下,从模式要求主机提供BCLK和LRCLK时钟。
许多中高档电话一般还要求提供位数和采样率更高的DAC功能。例如用它来播放WMA/MP3音乐或产生WAV文件的铃音。将用于此功能的数模转换与用于语音的转换器整合在一起有利于提高集成度,并且使所有数据转换任务集中到一个“点源”中。这样的整合在产品设计中非常有用,如果试图在模拟域中综合两种功能,势必会遇到地环路和音频电平差异等问题。
因此,用一个转换器整合语音和多媒体数据看起来是一个理想方案。这种方法的主要困难在于,所有语音转换必须保持同步至GSM/GPRS速率(受控于MCLK输入)。而对于多媒体播放,通常要求不相关的采样率:例如44.1kHz或48kHz。MAX9851采用一种类似于采样率转换(SRC)的算法对数字输入数据进行处理,解决了这个问题,因而可以利用单个DAC以同步方式对语音和多媒体组合数据进行转换。
从模式下,输入GSM语音数据的采样率必须保持准确(受控于MCLK)。而内部数字PLL锁定于S2数字接口的LRCLK输入,以便准确地(多个采样的平均)回放非同步多媒体音频数据。在主模式下,语音数据仍然准确地对准于所需要的MCLK整数分频,但S2 LRCLK数据速率只是近似值,有轻微的f(S)误差,通常不会有显著影响。S1或S2输入均可支持8kHz至48kHz的采样率。
MAX9851的S2数字输入/输出接口支持I²S和其他一些流行的小的变型。当不工作于GSM语音模式时,S1接口也可被编程为支持I²S,提供最大程度的接口灵活性,满足多功能高端电话的需求。
正如图5所示,S1数字输入/输出接口上有一个额外的滤波器,在GSM语音模式下可以被使能。这些数字单元是严格规范的低通和高通滤波器的一个高效率实现。它们对接近Nyquist频率和低频段的能量加以抑制。该滤波器经证实有利于满足噪声和信号泄漏规范,使电话更易于通过测试和认证。图6给出了滤波器的频率响应。

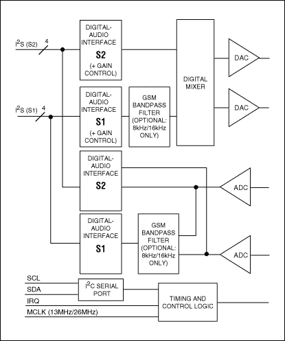
图5. MAX9851集成了两组独立的数字音频输入/输出接口(S1和S2)。对于DAC回放,各接口可以运行在不同的、非整数相关的采样率下,既可以用于主模式,也可以为从模式。

图6. GSM回放通道使能GSM滤波器后的频率响应。在f(S) = 8kHz时,注意恰好在奈奎斯特频率(4kHz)之前的陡峭滚降。也可选择禁止高通滤波器(HPF)工作。
上述实例只是强调了蜂窝电话系统设计师/架构师必须解决的少数几个问题。这种终端应用的设计周期越来越短,性能的整合也在不断地完善和变化,几乎每个型号都有所不同。因此,投入一定的时间,选择一个具有良好工程规划、应用灵活、功能全面的核心芯片组,应该是很有意义的。
低噪声模拟电路以不同的采样速率与多种回放/记录系统接口,对于这部分电路的控制仅是总体设计任务的一部分。在一个方案中整合以下特性也很重要:
模拟功能和高性能
单点式数字/模拟音频接口
灵活的数字接口
全面的功率管理和分区关断
这些特性涉及大量的系统设计、架构和布局问题。MAX9851是一款48引脚、7mm x 7mm单片方案,可用来解决这些问题,为中、高端GSM/GPRS蜂窝电话中的音频设计提供了一个坚实的基础。